レビュー
Rapha








Enter your email address below and subscribe to our newsletter

シマノの最新特許情報で13速ギアと新型ディレイラーハンガーが登場
最新のシマノの特許情報では、13速のギアと新型ディレイラーハンガーが描かれているのが明らかとなった。それは新型デュラエースの姿なのか?
情報源:Shimano Files Patent for Two-Pronged Derailleur Hanger
🐷自身は全くメカにも工学にも詳しくないので、この記事ではその特許情報の画像を、情報源記事では紹介されていないものを含めて簡単に紹介するに留める。


まずはこの画像でギアの枚数を数えると13枚あることに気づく。
そしてリアディレイラーにバッテリーは搭載されているのか気になるところだが、どうだろう?この画像だけではわからない?
今年発表されたばかりのMTB用コンポの最新型XTRはSRAMのように完全ワイヤレスとになっているので、シマノも次のデュラエースは完全ワイヤレスになると考えられるがどうだろう。
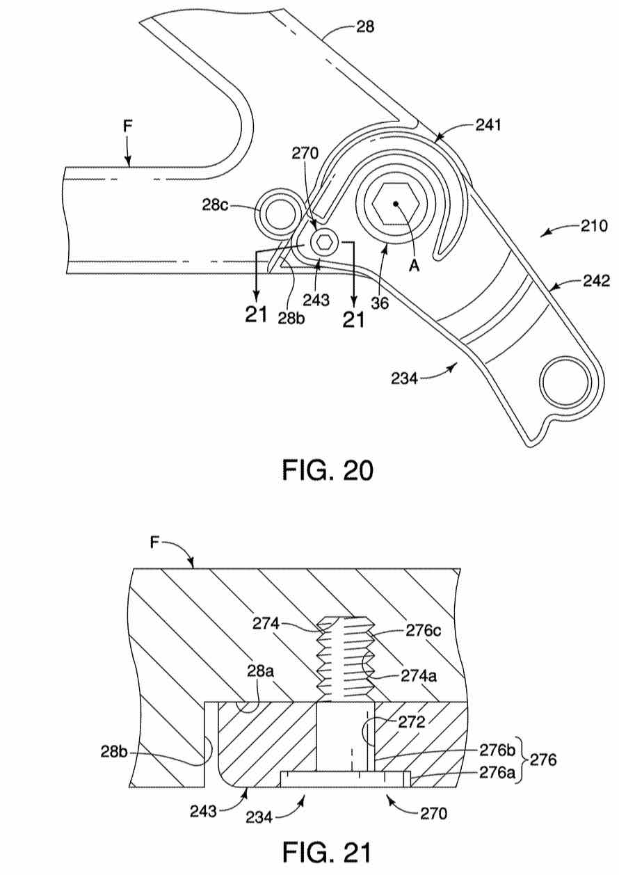
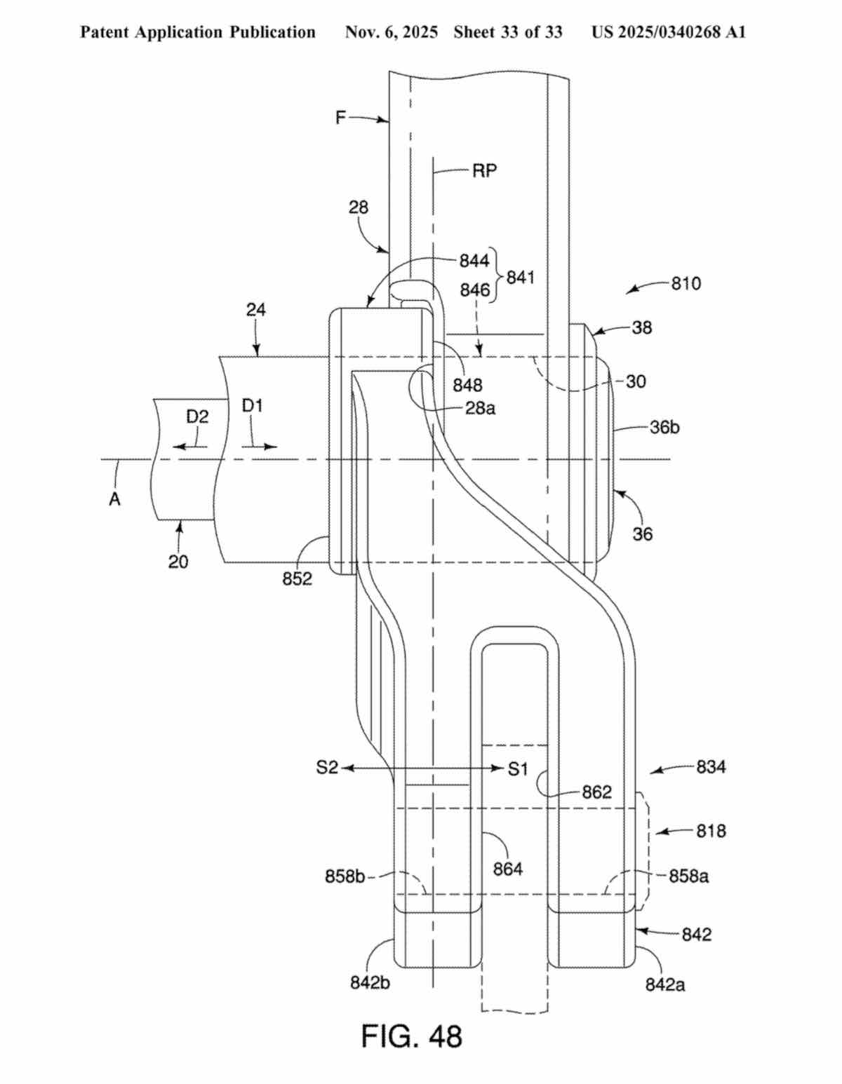
次に注目すべきなのは新型のディレイラーハンガーの画像だ。

今までに見たことない?ような形状をしている。リアディレイラー本体をハンガーに挟みこむ方法で固定するのだろう。
おもしろいのは、SRAMのリアディレイラーのダイレクトマウント(SRAM用語でフルマウント?)はディレイラー本体でフレームを挟むこみ方法であるのに対して、このシマノ特許はディレイラーハンガーでディレイラー本体をはさみこみ、かつ、そのハンガー自体もフレームの裏側に取り付けるという点で異なっていることだ。両社のアプローチの仕方や目的が違うのだろう。
ただディレイラーハンガーはこの画像だけでなく、他の形状・種類の画像も掲載されている。

こちらはSRAMのUDH(ユニバーサルディレイラーハンガー)に少し似ている?でもそれを上下逆さまにした感じ?
下の画像がSRAMのUDHだ。見比べてほしい。

またこれとは異なる形状のものも掲載されている。下の画像がそれだ。





あくまでこれらの情報は特許情報というだけであって、これらの技術がそのまま新コンポに搭載されるのかはわからない。期待しすぎるのも体に悪い(?)。
9年前、シンガポールへ出張へ行った時、シマノのショールームがありました。
内装11段変速機の分解モデルが展示してありました。
電気信号でシフトアップダウンを体感するコーナーがあり手回しでしたが体験することが出来ました。
https://kimamamani.seesaa.net/article/2016-05-12.html
コメントあざっす!
これは貴重な思い出ブヒね。シンガポールにもシマノのショールームがあるとは。
それにしても9年前からもうそんなものがあったのブヒね。
9年年「も」前、いや「たった9年前」なのか・・・そしてきゃりーぱみゅぱみゅ()
おそらく13段化に際して通常のUDHにマウントすると運用時にハンガーの耐久性に問題が出てしまったのではないかと。 この13段化はたぶんグラベルコンポーネントが13段がスタンダードになりつつあるためSHIMANOもそれに追従してGRXの13段化に踏み切った可能性は高いと思います。 その際Di2ディレイラーだと結構重くなるので専用のハンガーを開発したのではないかと思われます。
SRAMのUDHホールにマウントするとなるとおそらく設計の一部にSRAMのはテントに抵触する部分があるのかなーと邪推してます。
なるほどグラベルのトレンドがきっかけというのはたしかにありそうブヒね。
そしてDi2ディレイラーの重量が機械式より重めという観点は盲点だったブヒ。
今後13速コンポがでたとして、どこかの誰かに実際にUDHに装着した場合どうなるか試してほしいブヒね。YouTuberたちに期待()